書類の確認
保管期限前の書類を確認
「書類配信」「ドキュメント管理」を対象に保管期限前の書類を照会・ダウンロード・更新することができます。
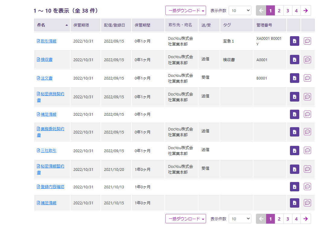
1.書類状況一覧
保管期限前の書類の一覧を表示します。
「保管期限到来月」が翌月でデフォルト設定され、初期検索表示されます。

| 名称 | 機能 |
|---|---|
| 取引検索 | 絞り込み検索を行います |
| 件数 | 一覧の出力件数を表示します。 |
| 一括ダウンロード | 一覧に表示されている書類を全件ダウンロードします。 |
| 表示件数 | 1ページに表示する件数(10、25、50、100、200)を指定します。 |
| ← | 前ページを表示します。 |
| ページ数 | 一覧のページ数を表示します。 |
| → | 次ページを表示します。 |
| 件名 | 書類の件名を表示します。 |
| 保管期限 | 設定した保管期間より算出した日付(翌月1日から起算した保管期間経過後の月末日)が表示されます。 |
| 配信/登録日 | 配信/登録を行った日付を表示します。 |
| 保管期間 | 設定した保管期間を表示します。 |
| 取引先 | 取引先を表示します。 |
| 送/受 | 送信・受信どちらの書類に該当するかを表示します |
| タグ | 書類作成時に付けたタグを表示します(タグを照会・更新 参照) |
| 管理番号 | 書類作成時に入力した管理番号を表示します。 |
| ダウンロード | 書類をPDF形式でダウンロードします。 |
| メモ | メモを設定・表示します。 |
1.1.取引検索
書類の項目を指定し、「検索」ボタンをクリックします。
タグは、10個まで入力できます。(11個目を入れると11個目の入力値は削除されます。)
複数入力した場合の検索方法を右側のAND/ORプルダウンで選択します。(デフォルトはAND)
管理番号は、半角空白区切りで5個まで入力できます。
複数入力した場合の検索方法を右側のAND/ORプルダウンで選択します。(デフォルトはAND)
例)
【タグ:契約書】で検索
検索フォーム

検索結果

※検索結果が0件の場合、メッセージを出力します。

※検索結果が200件を超えている場合、以下のメッセージを出力します。
「検索結果が多すぎるため全て表示できません。({*1}件中、200件を表示) 条件を変更して絞り込んでください。」 *1:検索結果の件数
※管理番号を6個以上入力して「検索」ボタンをクリックした場合、エラーメッセージが表示されます。

1.2.書類の詳細確認
書類の詳細を確認したい場合、一覧の各件名をクリックします。
例)
【件名:契約書】を詳細表示
該当書類の件名をクリックします。

書類詳細確認画面が表示されます。

件名リンクでの遷移画面は下記の通りです。
| 送受信区分 | 書類種別 | ステータス | 遷移先画面 |
|---|---|---|---|
| 送信 | 配信 | 配信済み | 配信用書類詳細確認画面 |
| 受信 | 配信 | 確認済み | 配信用書類詳細確認画面 |
| ドキュメント管理 | 登録済み | ドキュメント詳細確認画面 |
1.3.書類のダウンロード
各書類をzipファイルでダウンロードできます。
添付ファイルがある場合は、それも同梱されます。
例)
【件名:契約書】をダウンロード
画面右の「ダウンロード」ボタンをクリックすると、ポップアップが表示されますので任意の場所にダウンロードします。

zipファイルがダウンロードされ、解凍するとPDF形式の書類と添付ファイルが表示されます。
1.4.一括ダウンロード
検索条件に一致する書類を一括でダウンロードします。
※一括ダウンロードについては 送信した書類を確認:一括ダウンロード をご参照ください。
1.5.メモ
メモを設定・表示します。メモは備忘録として使用できます。
メモの設定
例として、契約書のメモをクリックします。

枠内にメモを入力し、「保存」ボタンをクリックします。

メモの背景色が紫色に設定されます。

メモの表示
メモの上にマウスポインタを置くと、設定されたメモの内容が表示されます。
