書類の確認
配信された書類を確認
取引先から配信された書類の内容を確認することができます。これらの機能は、納税地(皆様のご利用環境)で利用可能です。また取引先から配信された書類に対し、確認することができます。
1.書類の確認
取引先から配信された書類は以下の方法から確認することができます。
- 書類状況一覧画面から確認
- メールのアクセス用URLから確認
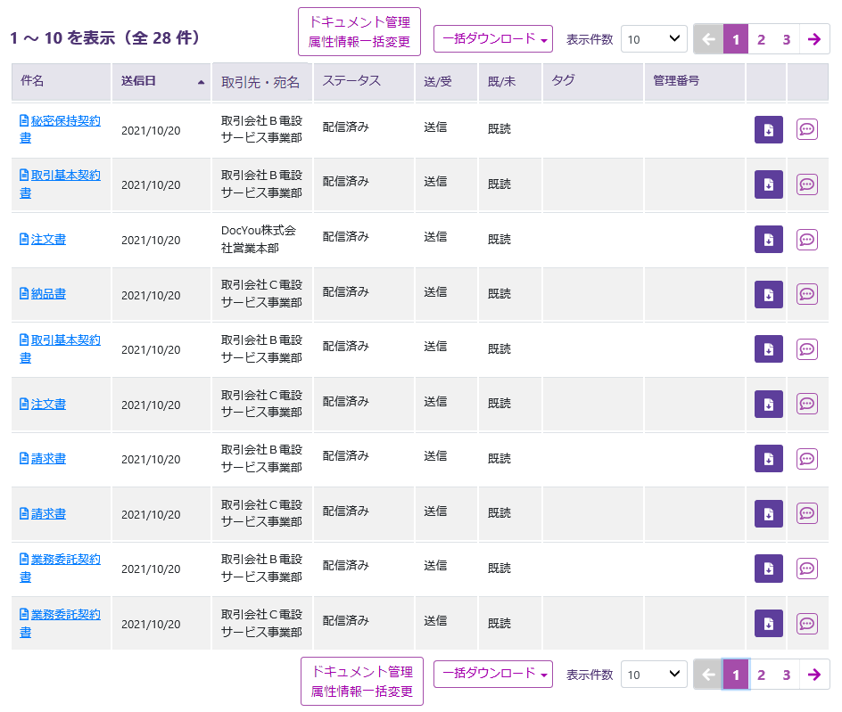
1.1.書類状況一覧画面から確認
配信された書類の一覧を表示します。

| 名称 | 機能 |
|---|---|
| 検索 | 絞り込み検索を行います |
| 件数 | 一覧の出力件数を表示します。 |
| 一括ダウンロード | 一覧に表示されている書類を全件ダウンロードします。 |
| 表示件数 | 1ページに表示する件数(10、25、50、100、200)を指定します。 |
| ← | 前ページを表示します。 |
| ページ数 | 一覧のページ数を表示します。 |
| → | 次ページを表示します。 |
| 件名 | 書類の件名を表示します。 |
| 送信日 | 配信日を表示します。列名をクリックすると降順にソートされます。 送信日Fromには1か月前が初期設定されています。 |
| 取引先 | 取引先を表示します。 |
| ステータス | 書類の配信・受信状況を表示します |
| 送/受 | 配信・受信どちらの書類に該当するかを表示します |
| 既/未 | 取引先が書類を確認したかどうかを表示します。 |
| タグ | 書類作成時に付けたタグを表示します(タグを照会・更新 参照) |
| 管理番号 | 書類作成時に入力した管理番号を表示します。 |
| ダウンロード | 書類をPDF形式でダウンロードします。 |
| メモ | メモを設定・表示します(メモを設定・表示 参照) |
| 電子署名状態 | 電子署名の付与状態を表示します。 |
書類の項目を指定し、「検索」ボタンをクリックします。
タグは、10個まで入力できます。(11個目を入れると11個目の入力値は削除されます。)
複数入力した場合の検索方法を右側のAND/ORプルダウンで選択します。(デフォルトはAND)
管理番号は、半角空白区切りで5個まで入力できます。
例)
【書類種別:書類配信】
【ステータス:受信】で検索
検索フォーム

検索項目
以下の検索項目を条件に取引検索を行います。検索項目を複数指定することで「AND条件 ※1」で検索することが可能です。検索項目に指定した条件にヒットした結果を一覧表示します。
| 検索項目 | 説明 |
|---|---|
| 書類種別 | 書類を配信する場合は「書類配信」をチェックします。 |
| 取引先・宛名 | 取引先名称または、かんたん閲覧に使用した宛名を部分一致で検索します。アルファベットの大文字小文字は無視して、検索されます。 ex)取引先名称がAbCdEを含む場合、「ABCDE」と「abcde」どちらの入力でも検索されます。 |
| 件名 | 取引名称を部分一致で検索します。 |
| パターン | 書類・ドキュメントパターン名称を部分一致で検索します。書類パターンを配信する書類の種類別(領収書、請求書、見積書など)に作成しておくことで、同種類別に検索することが可能です。書類パターンについてはこちらを参照ください。 |
| DocYouID | DocYouIDを条件に検索します。※4 |
| 取引先から参照 | 取引先名称からDocYouIDを確認・設定することができます 使い方はこちらを参照ください。 |
| 送信日From | 配信日が、入力された日付以降の取引を条件に検索します。※3 |
| 送信日To | 配信日が、入力された日付以前の取引を条件に検索します。※3 |
| 回答希望日From | 回答希望日が、入力された日付以降の取引を条件に検索します。書類配信の場合は条件を入力しても検索結果は0件になります。 |
| 回答希望日To | 回答希望日が、入力された日付以前の取引を条件に検索します。書類配信の場合は条件を入力しても検索結果は0件になります。 |
| 管理番号 | 書類作成時に入力した管理番号を部分一致で検索します。複数入力時のAND/ORプルダウンについてはこちらを参照ください。 |
| 取引先タグ | ドキュメント登録、または取引先タグ一覧に追加したタグを検索します。複数入力時のAND/ORプルダウンについてはこちらを参照ください。 |
| ステータス | 以下、書類のステータスで検索します。複数チェックすることで「OR条件 ※2」で検索することが可能です。ステータスの種類についてはこちらを参照ください。 |
| ドキュメント移動 | 電子契約/電子取引、書類配信からドキュメント管理に移動した取引を検索します。 |
| 非表示設定 | 非表示設定したドキュメントを条件に検索します。 |
| 未読/既読 | 取引先が書類を確認したかどうかを条件に検索します。 |
| 回答日From | 配信された書類が、確認された日付以降の取引を条件に検索します。※3 |
| 回答日To | 配信された書類が、確認された日付以前の取引を条件に検索します。※3 |
| タグ | 書類作成時に付けたタグを部分一致で検索します。複数入力時のAND/ORプルダウンについてはこちらを参照ください。 |
| 取引年月日From | 取引年月日が、入力された日付以降の取引を条件に検索します。※3 |
| 取引年月日To | 取引年月日が、入力された日付以前の取引を条件に検索します。※3 |
| 取引年月日なし | 取引年月日が設定されていない書類を条件に検索します。取引年月日の範囲検索と一緒に検索可能です。 |
| 取引金額(税抜)From | 取引金額(税抜)が、入力された金額以上の取引を条件に検索します。 |
| 取引金額(税抜)To | 取引金額(税抜)が、入力された金額以下の取引を条件に検索します。 |
| 取引金額なし | 取引金額が設定されていない書類を条件に検索します。取引金額の範囲検索と一緒に検索可能です。 |
| 契約年月日From | 契約年月日が、入力された日付以降の取引を条件に検索します。※3 |
| 契約年月日To | 契約年月日が、入力された日付以前の取引を条件に検索します。※3 |
| 自動更新 | 契約の自動更新有無を条件に検索します。 |
| 保管期限From | 保管期限日が、入力された日付以降の取引を条件に検索します。※3 |
| 保管期限To | 保管期限日が、入力された日付以前の取引を条件に検索します。※3 |
※1:指定された複数の条件がすべて同時に成立する場合です
※2:指定された複数の条件のいずれかが成立する場合です
※3:それぞれの日付でFrom~Toを指定することで、一課税期間を通して検索可能です
※4:2024年11月リリース以降に作成した書類が対象となりますのでご注意ください
補足1.値なし検索
取引年月日、または取引金額に値がないことを条件に取引検索を行うことができます。
-
検索対象の取引は、①取引情報必須で取引年月日、または取引金額未入力の取引、②取引情報自体が入力の必要ない取引となります。 ※書類パターンでは下記に該当します。

-
取引年月日、または取引金額なしにチェックを入れて「検索」ボタンをクリックします。

-
取引年月日、または取引金額なしの取引を一覧表示します。
※①取引情報必須で取引年月日、または取引金額未入力の取引、②取引情報自体が入力の必要ない取引
配信では、取引情報必須のものは「配信」ボタンクリック時に取引情報に必須チェックがかかるので書類作成中のステータスが対象となります。
-
①と②の書類詳細確認画面の表示内容は以下のとおりです。
- 取引情報入力が必須のため【取引情報】欄が表示されており、取引年月日、または取引金額は未設定であることが確認できます。

- 取引情報入力自体が必要ないため【取引情報】欄が表示されていません。

- 取引情報入力が必須のため【取引情報】欄が表示されており、取引年月日、または取引金額は未設定であることが確認できます。
補足2.取引先からDocYouID検索
取引先名から書類検索を行うときに取引先の法人名・組織名が変更されている場合、DocYouIDからの検索が便利です。
取引先名を部分一致で検索し、DocYouIDを設定可能なモーダルを使用することができます。取引先名が変更されていた場合、変更前の取引先名も検索対象となります。
モーダルで選択したDocYouIDは検索条件に指定されます。
利用方法はこちらをご確認ください。
補足3.検索結果の確認
検索結果に出力される値は、内部的に管理されたコード番号等ではなく、名称や数値で出力されます。
※以下、取引先、ステータス、送/受など

※検索結果が0件の場合、メッセージを出力します。

※検索結果が200件を超えている場合、以下のメッセージを出力します。
「検索結果が多すぎるため全て表示できません。({*1}件中、200件を表示) 条件を変更して絞り込んでください。」 *1:検索結果の件数
※管理番号を6個以上入力して「検索」ボタンをクリックした場合、エラーメッセージが表示されます。

一覧の各件名をクリックすると、該当の書類を確認することができます。

1.2.メールのアクセス用URLから確認
取引先から書類配信時に送られたメールにアクセス用URLが記載されています。

URLをコピーして任意のブラウザからログイン後に、該当の書類を確認することができます。
※マルチアカウント設定の方は以下ご確認ください。
複数アカウントを使用するマルチアカウント設定である場合、書類閲覧時にアカウント切り替えをスムーズに行うことができます。
例えば、企業組織で登録したアカウントが10部門あるときに、部門1~3をマルチアカウントとして設定しているユーザーAがいます。
ユーザーAが部門1でログインをした状態で、部門3から送信した書類URLにアクセスしようとすると自動で部門3に切り替わり該当書類が表示されます。
マルチアカウントである部門1~3の書類はURLから自動切り替えにより閲覧が可能ですが、部門4~10の書類は閲覧できずエラーとなりますのでご注意ください。
※かんたん閲覧を設定した書類パターンの場合は、こちらの確認方法となります。
書類の宛先に直接メールアドレスを設定するため、書類の受信者はアカウントの作成が不要になります。
送られたメールから、ログインすることがなく書類を閲覧することができます。
書類の閲覧期限からアクセス用URLの有効期限をご確認ください。
かんたん閲覧はメールでのみ確認ができる機能です。メール紛失時のメール再発行はできませんので、お客様で保管をお願いします。
2.書類確認
書類確認画面に遷移し、書類が既読扱いになります。

項目の概要説明は以下となります。
※一部の詳細説明につきましては、こちら以降を参照ください。
| 名称 | 機能 |
|---|---|
| 件名 | 書類の件名を表示します。 |
| 書類情報 | 取引先から受信した書類の情報を表示します。 |
| PDFファイル名 | PDFファイルアップロード画面にて割り当てられた PDFファイル名が表示されます。 |
| ← | PDFファイルの前ページを表示します。 |
| ページ数 | PDFファイルのページ数を表示します(表示ページ数/総ページ数)。 |
| → | PDFファイルの次ページを表示します。 |
| アクセス用URL | 配信時の一時保存の有無にかかわらず、 書類確認画面の上部に書類アクセス用URLが表示されます。 |
| 配信メッセージ | 書類配信時のメッセージを表示します。 |
| 受信側管理番号 | 書類に付ける受信側の管理番号を設定します。 |
| 添付ファイル | 書類に添付されたファイルをダウンロードします。 |
| ユーザータグ | 書類に付けるユーザータグを設定します。 (書類を配信:ユーザータグ・共通タグ 参照) |
| 共通タグ | 取引先が設定した共通タグが表示されます。 (書類を配信:ユーザータグ・共通タグ 参照) |
| 取引情報 | 取引情報を確認します。 取引情報が必須の書類の場合のみ表示されます。 |
| 契約情報 | 契約情報を確認します。 契約情報が必須の書類の場合のみ表示されます。 |
| 閲覧期限 | 送信元が設定した閲覧期限を表示します。 閲覧期限が過ぎた書類は閲覧ができなくなります。 |
| 戻る | 遷移元の画面(トップページ画面または書類状況一覧画面)に戻ります。 |
| 確認しました | 取引先から受信した書類を確認します。 確認処理後、トップページ画面に遷移します。 書類のステータスは確認済みとなります。 |
| 処理中にする | 取引先から受信した書類のステータスを確認処理中にします。 処理後、トップページ画面に遷移します。 |
| 操作履歴 | 組織内で行った操作履歴を表示します。 |
適格請求書発行事業者登録番号について
適格請求書発行事業者登録番号は国税庁長官により1法人につき1つ指定された、13桁の番号になります。
国税庁の「適格請求書発行事業者公表システムWeb-API機能」を用いて適格請求書発行事業者情報を取得し、内容を確認することができます。
適格請求書発行事業者登録番号を入力し、「確認する」リンクをクリックすると、指定した登録番号の事業者情報がドロワーで確認できます。

2.1.ステータス
書類の送受信・回答状況を表します。
下記は取引先に送付した書類のステータスです。
| ステータス | 説明 |
|---|---|
| 書類作成中 | 送付前に書類を一時保存した状態です。 |
| 取引先確認中 | 取引先(三社間取引の場合少なくとも一方)がまだ書類に回答していない状態です。 |
| 取引先同意 | 取引先が書類に回答(同意)した状態です。 |
| 取引先却下 | 取引先が書類に回答(却下)した状態です。 |
| 取引先差戻 | 取引先が書類に差戻した状態です。 |
| 回答結果・未処理 | 取引先が書類に同意した後、回答結果をまだ確認してない状態です。 |
| 回答結果・処理中 | 回答結果を処理中にした状態です。 |
| 回答結果・同意 | 回答結果を確認(同意)した状態です。 |
| 回答結果・却下 | 回答結果を確認(却下)した状態です。 |
| 書類作成中 | 配信前に書類を一時保存した状態です。 |
| 配信済み | 書類を配信した状態です。 |
| 書類取消 | 回答希望日から3か月以上経過した書類を取消した、または取引先が差し戻した書類を取消した状態です。 |
| 配信停止済み | 配信済みの書類を停止した状態です。 |
下記は取引先から受信した書類のステータスです。
| ステータス | 説明 |
|---|---|
| 回答未処理 | 取引先から受信した書類が未回答の状態です。 |
| 回答処理中 | 取引先から受信した書類が回答処理中の状態です。 |
| 他社確認中 | 取引先から受信した書類が自社は同意、他社が未回答の状態です。 |
| 同意済み | 取引先から受信した書類が回答済み(同意)の状態(三社間取引の場合他社も)です。 |
| 当社同意他社却下 | 取引先から受信した書類が自社は同意、他社が却下した状態です。 |
| 却下済み | 取引先から受信した書類が回答済み(却下)の状態です。 |
| 回答結果・送信元確認中 | 取引先から受信した書類を回答済み(同意)にした後、取引先が回答結果を確認中の状態です。 |
| 回答結果・送信元同意 | 取引先から受信した書類を回答済み(同意)にした後、取引先が回答結果を確認(同意)した状態です。 |
| 回答結果・送信元却下 | 取引先から受信した書類を回答済み(同意)にした後、取引先が回答結果を確認(却下)した状態です。 |
| 回答結果・送信元差戻 | 取引先から受信した書類を回答済み(同意)にした後、取引先が回答結果を差戻した状態です。 |
| 未確認 | 取引先から受信した配信書類が未確認の状態です。 |
| 確認処理中 | 取引先から受信した配信書類が確認処理中の状態です。 |
| 確認済み | 取引先から受信した配信書類を確認した状態です。 |
| 送信元取消済み | 回答希望日から3か月以上経過した書類を送信元が取消した、または取引先から受信した書類を差し戻した後、送信元が取消した状態です。 |
| 送信元配信停止済み | 取引先から受信した配信書類が停止された状態です。 |
下記はドキュメント管理のステータスです。
| ステータス | 説明 |
|---|---|
| 登録済み | ドキュメントを登録済みの状態です。 |
2.2.電子署名状態
電子署名の付与状態を表します。
| 電子署名状態 | 説明 |
|---|---|
| 署名未済 | 一切の電子署名がされてない状態です。※この時点でPDFをダウンロードしても署名されていないのでご注意ください。 |
| 署名処理適用外 | 書類定義にてタイムスタンプが「なし」と設定された状態です。 |
| 署名済 | 配信後、電子署名が設定された状態です。 |
2.3.アクセス用URL
配信時の一時保存の有無にかかわらず、書類確認画面の上部に書類アクセス用URLが表示されます。
書類コピーのアイコンをクリックすると、書類確認画面のURLがクリップボードへコピーされます。

2.4.書類のダウンロード
未回答の書類をPDF形式でダウンロードできます。
画面右の「ダウンロード」ボタンをクリックすると、ポップアップが表示されますので任意の場所にダウンロードします。

※配信元、取引先どちらかにサンドボックスアカウントが含まれる場合、 PDF(全ページ)に「Sandbox」の透かし文字が入ります。
2.5.受信側管理番号
受信側の管理番号を入力します。(任意入力)

2.6.ユーザータグ
検索用のタグを設定します。(任意入力)
※ユーザータグについては下記をご参照ください。 【書類を配信:ユーザータグ・共通タグ】
2.7.操作履歴
ログインユーザーが所属している組織内で行った操作の履歴を直近の履歴から降順で表示します。書類確認画面では確認処理中の操作履歴が表示されます。

※書類の確認時や、確認後に書類詳細確認画面にて管理項目更新を行った後には、その記録が書類詳細確認画面にて操作履歴として閲覧可能です。
書類詳細確認画面では、書類の確認および受信側管理番号、ユーザータグの更新時(管理項目更新)の操作履歴が表示されます。

2.8.書類の内容を確認する
書類のステータスを更新します。
「確認しました」を選択した場合、書類の受信側に所属するユーザーには 「DocYou 書類確認完了のお知らせ」 メールが送信されます。
「DocYou 書類確認完了のお知らせ」 メールの送信先は以下の表をご覧ください。
| メールの種類 | 宛先 |
|---|---|
| 受信側組織向け | 受信側組織:書類配信時点の取引先(受信側)企業組織のメールを受信するユーザー(管理者および一般でメールを受信するユーザー)と確認した操作担当者 |
必要な入力項目を入力後、書類の内容を確認する場合は、「確認しました」ボタンをクリックします。 処理後、トップページ画面に遷移し、書類のステータスは確認済みとなります。 書類状況一覧から、ステータスを確認済みで検索して、書類を確認できます。

2.9.処理中にする
ログインユーザーが所属している組織内に確認処理中と知らせたい場合は「処理中にする」ボタンをクリックします。

処理後、トップページ画面に遷移します。
書類のステータスは確認処理中となります。

2.10.配信停止された書類
取引先(書類配信元)が配信停止を行った場合、PDF含め取引に関する書類の内容が確認できない状態となります。
また配信を停止された書類は、ドキュメント移管を行うことができません。
停止された書類を開くと、画面上部に配信停止理由が表示されます。
また、ステータスは配信停止済みとなります。

かんたん閲覧を使用した配信書類が停止された場合も同様に、画面上部に配信停止理由が表示されます。

配信停止は取引先(書類配信元)のみの操作になります。
こちらをご確認ください。
3.かんたん閲覧を使用した書類確認
取引先からかんたん閲覧を使用した書類が配信された場合、送られたメールのアクセス用URLから書類を開きます。こちらを参照ください。

項目の概要説明は以下となります。
※一部の詳細説明につきましては、こちら以降を参照ください。
| 名称 | 機能 |
|---|---|
| 件名 | 書類の件名を表示します。 |
| 書類をPDFでダウンロード | 書類に設定されたPDFファイル |
| ステータス | 書類の配信・受信状況を表示します。 |
| 電子署名状態 | 電子署名の付与状態を表示します。 |
| 適格請求書発行事業者登録番号 | 取引先の適格請求書発行事業者登録番号を表示します。 |
| PDFファイル名 | PDFファイルアップロード画面にて割り当てられた PDFファイル名が表示されます。 |
| ← | PDFファイルの前ページを表示します。 |
| ページ数 | PDFファイルのページ数を表示します(表示ページ数/総ページ数)。 |
| → | PDFファイルの次ページを表示します。 |
| 添付ファイル | 書類に添付されたファイルをダウンロードします。 |
| 宛名 | 宛名を確認します。取引先の指定に設定したメールアドレスも表示されます。 |
| 閲覧期限 | 送信元が設定した閲覧期限を表示します。 |
| 確認しました | 取引先から受信した書類を確認します。 |
3.1.書類の内容を確認する
書類の内容を確認する場合は、「確認しました」ボタンをクリックします。
「確認しました」を選択すると、ステータスが「完了」に更新されます。

かんたん閲覧で確認した書類の場合、メールは送信されません。
4.書類のダウンロード
各書類をzipファイルでダウンロードできます。
添付ファイルがある場合は、それも同梱されます。
※かんたん閲覧は本機能を使用できません。
例)
【件名:入力項目埋め込み確認】をダウンロード
画面右の「ダウンロード」ボタンをクリックすると、ポップアップが表示されますので任意の場所にダウンロードします。

zipファイルがダウンロードされ、解凍するとPDF形式の書類と添付ファイルが表示されます。
参考.ダウンロードしたPDFの印刷
ダウンロードしたPDFはいくつかの手段で印刷することができますが、参考としてAdobe Acrobat Readerを使用して印刷する手順を記載します。
※お使いのOSやAdobe acrobat Readerのバージョンによって、多少内容が異なる場合がございます。下記はWindows 10 Proのバージョン20H2、Adobe Acrobat Reade DCのバージョン2021.005.20060による内容です。
-
ダウンロードしたzipファイルを展開し、書類PDFをAdobe acrobat Readerで開きます。

-
ツールバー上の[印刷]ボタンをクリックします。

-
メニューバーの[ファイル]-[印刷]をクリックしても印刷可能です。

-
印刷ダイアログが表示されますので、印刷を行ってください。ドキュメントのサイズのまま印刷する場合は、ページサイズ処理で「実際のサイズ」を選択します。プリンターの用紙サイズに合わせて印刷する場合は、ページサイズ処理で「合わせる」を選択するか、用紙サイズに合わせて拡大・縮小してください。

5.一括ダウンロード
検索条件に一致する書類を一括でダウンロードします。
PDFで指定した場合、書類ごとにフォルダが作成され、一つのzipファイルがダウンロードできます。
PDF一括ダウンロードの上限は200件です。200件を超えている場合は、以下のエラーメッセージが表示されます。
「PDF一括ダウンロード可能な件数(200件)を超えています。条件を変更し、検索をやり直してください。」
また、ファイルサイズの上限を超えている場合は、以下のエラーメッセージが表示されます。
「PDF一括ダウンロード可能なサイズを超えています。条件を変更し、検索をやり直してください。」
CSVで指定した場合、一つの表で記されたCSVファイルがダウンロードできます。
CSV一括ダウンロードの上限は1000件です。1000件を超えている場合は、以下のエラーメッセージが表示されます。
「CSV一括ダウンロード可能な件数(1000件)を超えています。条件を変更し、検索をやり直してください。」
連携用ZIPで指定した場合、書類ごとにフォルダが作成され、一つのzipファイルがダウンロードできます。
連携用ZIP一括ダウンロードの上限は1000件です。1000件を超えている場合は、以下のエラーメッセージが表示されます。
「連携用ZIP一括ダウンロード可能な件数(1000件)を超えています。条件を変更し、検索をやり直してください。」
また、ファイルサイズの上限を超えている場合は、以下のエラーメッセージが表示されます。
「連携用ZIP一括ダウンロード可能なサイズを超えています。条件を変更し、検索をやり直してください。」
※かんたん閲覧は本機能を使用できません。
例)
【取引先:株式会社新川製作所公共システム開発部】に該当する書類をダウンロード
検索一覧上部の「一括ダウンロード」ボタンをクリックし、所望の形式をクリックするとダウンロードポップアップが表示されます。

一括ダウンロードを行うと、「DocYou 書類一括ダウンロードのお知らせ」 メールが送信されます。 メールの送信先は以下の表をご覧ください。
| メールの種類 | 宛先 |
|---|---|
| DocYou 書類一括ダウンロードのお知らせ | 操作者が所属する組織の管理者 |
- PDFをダウンロードおよび印刷
「PDF」を選択してダウンロードすると該当書類がPDF形式でダウンロードされます。印刷が必要な場合は、このPDFファイルをAdobe Acrobat Readerなどのツールで開き、印刷を実行してください。
※Adobe Acrobat Readerを使用した印刷手順はこちらを参照ください。
- CSVをダウンロードおよび印刷
CSV形式を指定した場合、各項目が一つの表で記されたcsvファイルがダウンロードできます。ダウンロードされたデータの印刷が必要な場合は、CSVをExcelなどのツールで開き、印刷を実行してください。
検索結果一覧画面では表示する項目を限定していますが、ダウンロードしたCSVでは書類の関連項目(記録事項)が全て含まれています。CSVに出力される値は、「取引ID」を除いて、内部的に管理されたコード番号等ではなく、名称や数値で出力されます。

- 連携用zipをダウンロード
「連携用zip」を選択すると、DocYouで書類取引を行ったデータがjson形式でまとめて『download.zip』というzip名でダウンロードされます。
書類ごとにフォルダが作成され、PDFのドキュメントファイル情報、添付ファイル情報、書類の属性情報(json形式)が含まれます。
ダウンロードしたjsonデータは他システムへの連携に使用することができます。
6.配信済み書類について
配信済み書類は、DocYouのクラウドサーバ内に保存されます。保存された書類は配信済みの書類として改竄を防止するため、DocYouではご利用の皆様に訂正および削除を行える機能を提供しておりません。書類の訂正が必要な場合は、新たに書類を作成し配信を行ってください。
6.1.保存状態の管理
保存された書類は下記に記載しております「配信日」および「書類を一意に表すID(=取引ID)」にて、配信時点の状態が管理されております。
・配信日
・書類を一意に表すID

6.2.保存期間
保存期間は書類パターンで設定された保管期間となります(最長10年11カ月)。ご要望に応じてドキュメント管理へ移管することで、対象書類の保存を10年11ヶ月まで1か月単位で延長することができます。また永年を設定すると、期間に関係なく長期間保管し続けることができます。
6.3.保存担当者
保存担当者は、書類の内容を確認するを行ったユーザーが該当します。保存担当者情報は書類状況一覧の検索結果よりCSVファイルを一括ダウンロードすることにより確認することができます。
対象項目は以下となります。
・取引先1回答者氏名
一括ダウンロードについてはこちらを参照ください。